| 裝備位置 | 震動角度 | 結構說明 | |
| 型號(A): | ![]() |
![]() |
兩顆相同型號之振動馬達對稱的安裝在機械左右兩側並與地面傾斜與需要的角度。藉由改變不同的震動角度,可以達到平台的操作要求。 |
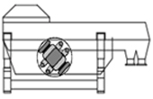
| 型號(B): | ![]() |
![]() |
在機台上方安裝兩部振動馬達,機台內部有多層網,來達成分門別類之過濾功能,並得到較佳之效果。 |
| 型號(C): | ![]() |
![]() |
在機台下方安裝一台振動馬達,藉安裝角度,使其產生圓周循環振動,達成篩選及輸送之功能,藉由改變其傾斜角,達到不同之功用。 |
| 型號(D): | ![]() |
![]() |
這是最適合於在食品和化學工業,依此安裝型式裝振動馬達,可與彈簧產生共振功能,利用頻率的改變來變換振動強度與振幅。 |
| 型號(E): | ![]() |
![]() |
將振動馬達以直立方式裝,震動會使過濾網或篩子產生上下左右(三次元)之運動,對細微的顆粒可達良好之篩選效果,且不會產生阻塞篩網現象,適合作為濕式篩選機使用。 |